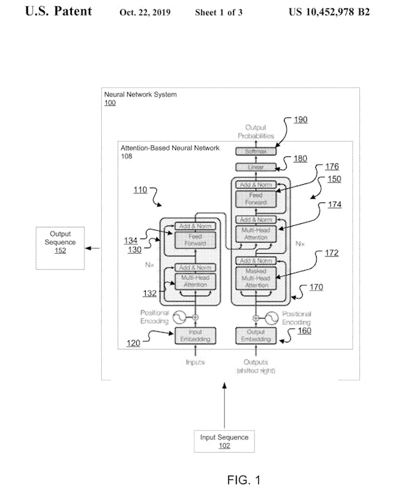
Google in 2019 patented the Transformer architecture(the basis of modern neural networks), but did not enforce the patent, allowing competitors (like OpenAI) to build an entire industry worth trillions of dollars on it
Welcome to the community!
Thanks for stopping by. I really look forward to reading discussions and seeing links from the community.
Youβve reached the end of the feed.
Roll credits.